同城版的模板框架是固定的 意思就是框架已经固定好 在后台相对应地方编辑好内容后 就会在小程序端相对应处显示
登录进入后台,找到同城版模板点击“管理”进入操作编辑

进入后,点击“小程序管理”选择“我已有小程序账号,马上去授权”进行授权

下图所示 就是授权成功的界面:

-
商户号和商户号密钥是开通微信支付后才会有的 如果还没有开通可以随便填一串数字 这个不会影响到小程序的审核
开通好微信支付后,腾讯会通过邮件发送商户号给你(商户号10位数)
登录微信商户平台-账户中心-API安全里设置商户号密钥(密钥32位数 数字+字母)
▲授权成功后,进行下一步——商家配置:
-
轮播图:

2.审核设置:是指用户进入小程序后发布帖子是否需要审核(根据自己需求选择)
如果设置了审核,在后台【信息管理】处进行操作审核是否通过



3.客服电话:只有在用户被屏蔽掉后 发帖时才会显示出来联系客服电话

4.公告弹窗:用户进入小程序后 会有弹框显示出公告内容(限50字)

5.虚拟访问量/发帖量:
- 实际显示的数量为:虚拟访问量+真实访问量(例如:虚拟100+真实50 实际显示为150)
虚拟发帖量+真实发帖量(例如:虚拟100+真实50 实际显示为150)

6.置顶规则管理:可以设置发帖置顶收费用(费用根据自己需求进行设置)


▲分类信息
用于用户发帖时选择在哪个分类下进发布帖子


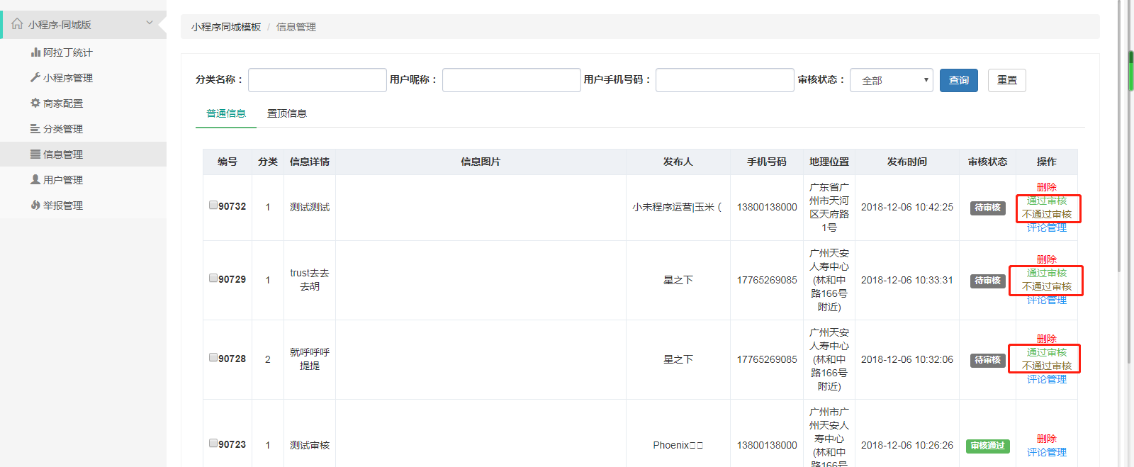
▲信息管理
在这里可以看得到用户在小程序里发布的所有帖子
可根据分类名称,用户昵称,用户手机号码,审核状态,进行查询。
可进行操作删除、是否通过审核以及对某条帖子的相关评论进行管理

▲用户管理
这里会显示进入你的小程序后同意授权的用户
可以看得到用户的微信昵称、手机号码、发布信息数量等等
也可以对某些用户进行屏蔽 【注:用户被屏蔽后,会有发布不了帖子的影响】

▲举报管理
如果用户在小程序端看到令人不适信息,可选择举报
在后台可以对用户举报的信息进行删除处理,如果举报内容过多,可选择批量删除


手机端展示:
如何发布帖子

首页再往下拉 就能看到最新发布和距离最近的帖子
点击“联系ta”就会出现发帖人的联系电话进行拨打联系

点击一个帖子进入后,可以对这个帖子进行收藏、分享、写评论、举报等操作

手机端“我的”页面
我的发布:这里显示的是你所发布的所有帖子
我的收藏:这里显示的是你收藏的帖子
我的评论:在这个模板里你所评论的内容
消息通知: 你举报的内容会推送到后台
设置:绑定手机号码


以上就是同城版的后台设置以及手机端展示,内容都已编辑好后就点击“保存” 接下来就可以进行发布了!
1.找到“小程序管理”点击进入—进入个人操作界面
2.进入之后,把小程序名称、小程序appid、小程序密钥以及商户号和商户号密钥填写好后点击保存,然后下载小程序代码,具体的整个发布流程请查看操作文档。
【商户号和商户号密钥是开通微信支付之后才会有的,如果还没有开通的用户随便填写一串数字,后期开通好再填写好保存即可,不可以不填写】


