小程序路径*
首页:pages/home/home-index/index
人脉圈:pages/connected/connected-index/index
分类信息:pages/classify/classify-index/index
充值:pages/my/mysavePrice
优选商城:pages/selected/selected-index/index
我的:pages/join/join-index/index
进入后台,找到平台模板点击“管理”进入

进入后,找到“小程序授权”选择”我已有小程序账号,马上去授权”

下图所示,就是授权成功的界面:

运营情况
在这个页面 能清楚看到你的平台运营情况。例如:入驻店铺、会员人数、发帖总数、商品、访问量等等。

阿拉丁数据
在这里 能看到你的小程序运营的数据详情。

*但是因为目前的发布方式是使用代码,所以这里没有显示数据是正常的,如果想看到小程序的具体数据,可以在小程序里搜索“小程序数据助手”进行查看*
店铺管理
①店铺列表:这里显示的是入驻到你这个平台的店铺

商家入驻步骤:


①店铺分类:用户入驻到平台时需要选择入驻在哪个分类下。
注意:大类和小类都需要设置。先设置大类再设置小类(例如大类为美食,小类为火锅、烧烤等)


③店铺入驻配置:可选择是免费入驻还是付费入驻

付费入驻小程序端展示:

优选商城
①平台订单:这里可以看到在平台里支付的订单详情

②商品数据库:必须开通了独立小程序才能上传产品展示在平台的“优选商城”处。
后台可选择是自动同步还是手动同步

商家申请开通独立小程序步骤:商家需要是入驻后才能申请开通独立小程序

申请开通后,登录平台后台—“独立小程序”可以看得到商家申请开通的请求

分类信息
①配置管理:可设置发帖是否审核以及置顶收费

②信息分类:用于用户进入小程序发布帖子选择在哪个分类下发布帖子

手机端展示:

③信息管理:处理帖子的审核状态、删除、手动置顶、评论管理

④发帖用户:可以看得到在小程序里发帖的用户

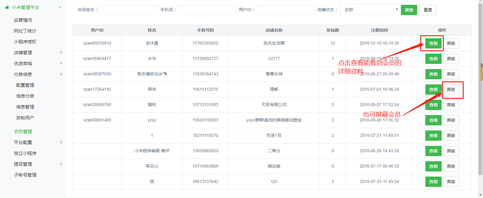
会员管理
这里能看到在你的小程序里注册会员的用户


如何创建名片步骤:

平台配置
-
推广配置
平台首页广告图设置(限5张)

推荐商家设置(限12家)

置顶商家设置(限30家)

-
其他设置
平台公告(限50字) / 平台数据设置

流量广告嵌入管理:需要使用此功能,请先登录微信公众平台-开通好流量主功能后才可以使用。开通之后,会有一个广告id
-
流量主功能开通条件:
-
累计独立访客(UV)不低于1000
- 有严重违规记录的小程序不予申请


公众号关注设置:扫小程序码进入后可以选择关注公众号。
- 使用组件前,需前往小程序后台微信的小程序后台 在设置-关注公众号组件中设置要展示的公众号
- 注:设置的公众号需与小程序主体一致
- 只有从以下场景进入小程序,才具有展示引导关注公众号组件的能力 当小程序从扫二维码场景打开时 当小程序从扫小程序码场景打开时 当小程序从聊天顶部场景中的最近使用内打开时,若小程序之前未被钱毁,则该组件保持上一次打开小程序时的状态 当从其他小程序返回小程序时,若小程序之前未被销毁,则该组件保持上一次打开小程序时的状 只有满足以上两个条件,公众号关注组件才会显示


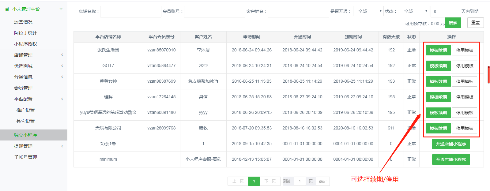
独立小程序
需要在平台“优选商城”中展示产品就需要申请开通独立小程序,具体如何开通请往上翻查看优选商城
独立小程序开通是按年计时的 如到期可在后台操作续期

提现管理
-
申请管理
商家登录独立小程序后台开启“平台分销” 那么钱就是到平台的管理者账户上 商家再申请提现。
平台管理者再处理选择通过还是不通过
提现的操作步骤:
①需要把商户证书提拱给客服安装好
②商户平台那边需要开通好“企业付款到零钱功能”—http://kf.qq.com/faq/140225MveaUz150107ERniAN.html
③确保商户号里有钱才能成功提现


-
提现配置:平台管理者可设置最低提现金额、提现处理时间、提现手续费、提现方式

以上是平台后台的操作展示,每个版块都设置好内容后即可发布。
【注:平台版和独立小程序都需要发布 独立小程序的操作麻烦请查看“独立小程序”的操作文档】
进入小程序授权-最底部点击“进入个人操作界面”:

把页面需要填写好的内容填写完整后,点击操作文档查看详情的整个发布流程

